Uploaded by Dastanbek Yerniyazov

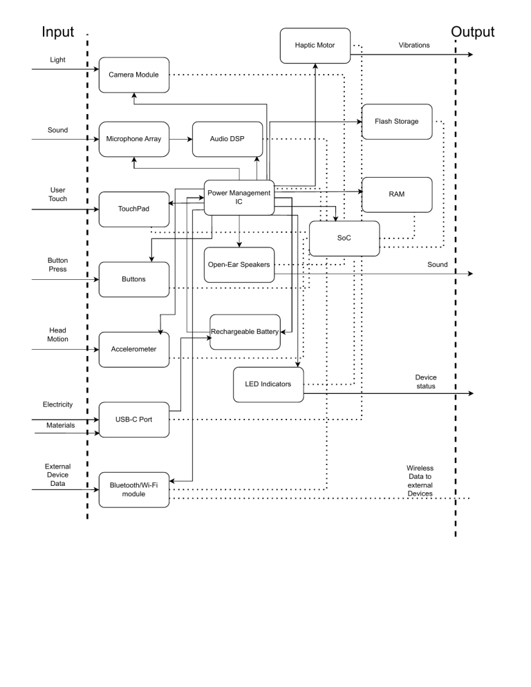
Device Input/Output Diagram

advertisement
Input
Output
Haptic Motor
Vibrations
Light
Camera Module
Flash Storage
Sound
Microphone Array
User
Touch
TouchPad
Audio DSP
Power Management
IC
RAM
SoC
Button
Press
Open-Ear Speakers
Sound
Buttons
Head
Motion
Rechargeable Battery
Accelerometer
LED Indicators
Device
status
Electricity
Materials
External
Device
Data
USB-C Port
Bluetooth/Wi-Fi
module
Wireless
Data to
external
Devices
Download